등록실용신안 20-0426996 광고수단이 장치된 어깨근육풀기용 운동기구

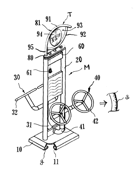
본 고안은 공원이나 놀이터 등의 야외에 설치하여 어깨근육풀기 운동을 할 수 있는 운동기구에 관한 것으 로, 특히 운동기구의 상단부에 광고수단을 장치하여 운동하는 사람에게 각종 광고나 홍보를 할 수 있을 뿐 아니라, 강한 바람에 파손되는 것이 방지되면서 미감이 증대되도록 한 광고수단이 장치된 어깨근육풀기용 운동기구에 관한 것이다. 본 고안은 야외에 설치하고 어깨근육풀기 운동을 하기 위하여 광고몸체(81)와 지지부재(80)로 된 광고수단 (T)을 운동기구(M)의 상단부에 결합하여서 된 공지의 것에 있어서, 상기 광고수단(T)은 원호상의 상부프 레임(91)과 하부프레임(92)의 사이에 통기부(93)가 구비되도록 형성하며, 원판형의 광고판체(94)를 통기부 (93) 내측에 위치시키고 광고판체(94)의 상하부를 상부프레임(91)과 하부프레임(92)에 각각 고정하며, 상 부프레임(91)의 하방을 길게 연장하여서 된 지지봉(95)을 지지부재(80)에 고정하여 구성된 것이다. 


d7f9d8b84661e.png

디자인·설계

공공/산업디자인 전문 회사

제조

스마트공장 고도화 단계 도입

기술

면진, 막구조, 데크로드 특허등록

이메일 q5558@hanmail.net
전화 1577-7680 
팩스 033-458-3019 
상호명 주식회사 큐
대표이사 한각수
사업자등록번호 127-86-00110
공장주소 강원도 철원군 김화읍 외골길 17-6
사무실 강원도 철원군 김화읍 외골길 33-29


철원사무실  강원특별자치도 철원군 김화읍 외골길 33-29   공장   강원특별자치도 철원군 김화읍 외골길  17-6    
KNU산학연구단지  강원특별자치도 춘천시 강원대학길 1, KNU 스타트업큐브 2단계 101-2호     
팩 스  033-458-3019  이메일 q5558@hanmail.net     1577-7680  /  033-458-2313      
상  호 명  주식회사 큐       대표이사   한각수        사업자등록번호 127-86-00110      통신판매업신고 제 2023-강원철원-0031 호
면진시스템  |  막구조물  |  목제덱 · 목교  |  조경시설  |  상상놀이시설 · 어린이 놀이시설· 모험놀이시설 · 조합놀이대 · 물놀이시설 · 짚라인 · 트렘펄린 · 유아숲    |  부스·컨테이너 · 이동식부스 · 흡연부스 · 버스정류장 · 신발털이대 · 공중화장실 · 분리수거장 · 자전거보관소  |  퍼걸러 · 정자&원두막  |  흔들벤치 · 옥외용벤치  |  플렌트 · 울타리 · 트렐리스  |  야외운동기구  |  보도자료  |  카탈로그  |  포트폴리오  |  고객지원